Hidrolik Kasnaklar

Hidrolik kasnaklar, hidrolik asansör sistemlerinde kabin ile hidrolik tahrik sistemi arasındaki hareket iletimini sağlayan özel kasnaklardır.

Birbiriyle aynı yönde veya ters yönde hareket edebilen iki kasnaktan oluşan yapıları sayesinde sistemin kontrollü ve dengeli çalışmasına katkı sağlar.


> Çift Yönlü İletim Yapısı

> GG-25 Analizli Döküm Gövde

> Hassas İşleme ve Düşük Salgı

> TSE EN 81-50 Standardına Uygun

Ürün Özellikleri

Hidrolik kasnaklar, hidrolik sistemden gelen hareketin kabine doğru şekilde aktarılmasını sağlayan kritik bileşenlerdir. İki kasnaktan oluşan yapıları, uygulamaya bağlı olarak aynı yönlü veya ters yönlü hareket prensibiyle çalışacak şekilde tasarlanır. Bu yapı, hidrolik asansör sistemlerinde düzgün halat yönlendirmesi ve stabil çalışma sağlar.

Kasnak gövdeleri, GG-25 analizli döküm malzemeden imal edilmekte; döküm sonrası hassas işleme ve salgı alma işlemleri ile yüksek kalite standartlarına uygun hale getirilmektedir. Bu sayede halat hareketi titreşimsiz ve güvenli şekilde yönlendirilir.

Ürünler, TSE EN 81-50 standardı kapsamında asansör sistemlerinde kullanım için gerekli teknik gereklilikleri karşılayacak şekilde üretilmektedir. Müşteri talebine bağlı olarak SKF, FAG veya ORS gibi farklı rulman markaları tercih edilebilir. Ayrıca teknik resme uygun olarak farklı çap, genişlik ve mil ölçülerinde hidrolik kasnak imalatı gerçekleştirilebilir.

Bu yapı, hidrolik kasnakların hidrolik asansör uygulamalarında güvenilir, uzun ömürlü ve sistemle uyumlu şekilde kullanılmasını sağlar.

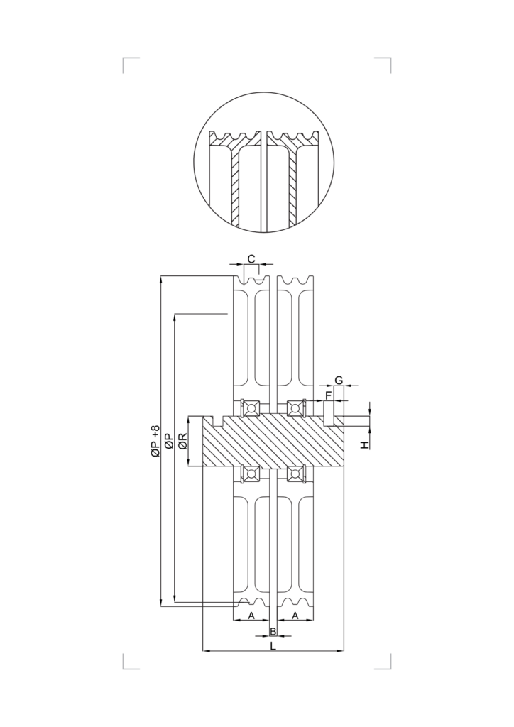
Teknik Resim

TMS Lift hidrolik kasnak asansör parçası teknik resmi

Ölçüler

TMS Lift Hidrolik kasnak asansör parçası teknik özellik ve ölçüleri tablosu

Bilgi ve teklif almak için bize ulaşın

TMS iletişim formu